7 bước giúp bạn nắm rõ được trình tự các công việc cần triển khai đối với kết cấu khung bê tông cốt thép, trước khi bắt tay sử dụng phần mềm tính toán kết cấu.
Trước khi đi sâu vào các bước thiết kế, chúng ta cùng tìm hiểu mô hình kết cấu khung bê tông cốt thép ngoài thực tế sẽ được triển khai dưới dạng sơ đồ tính như thế nào nhé.
1. Sơ đồ kết cấu khung
Khung gồm có các cột, các dầm liên kết với nhau và liên kết với móng. Trong sơ đồ các cột và dầm được thay đường trục của nó.
Về hình học và sự làm việc cần phân biệt khung phẳng và khung không gian
Khung gọi là phẳng khi trục các bộ phận cảu nó cùng nằm trong một mặt phẳng và các tải trọng tác dụng trong mặt phẳng đó. Mặt phẳng đó được gọi là mặt phẳng khung hoặc mặt phẳng uốn.
Khung là không gian khi trục các bộ phận không cùng nằm trong mặt phẳng hoặc tuy cùng nằm trong 1 mặt phẳng nhưng có chịu tải trọng tác dụng ngoài mặt phẳng khung.
Trong kết cấu nhà, khung thường được cấu tạo thành hệ không gian ( khối khung ). Hệ khung không gian có thể được xem là gồm các khung phẳng liên kết với nhau bằng các dầm, ngoài mặt phẳng khung.
Tùy theo phương án kết cấu chịu lực chính của nhà mà hệ khung có thể thuộc về khung hoặc nhà kết hợp
Với nhà khung, hệ khung chịu toàn bộ tải trọng thẳng đứng và tải trọng ngang
Với nhà kết hợp ( với lõi cứng, vách cứng ) khung chịu phần tải trọng đứng trực tiếp truyền vào nó và chịu phần tải trọng ngang được phân phối cho nó.
Tuy hệ khung là không gian nhưng về sự làm việc và tính toán có thể theo sơ đồ không gian hoặc theo sơ đồ phẳng tùy thuộc vào tải trọng tác dụng và mức độ gần đúng có thể chấp nhận được.
Để phân biệt trường hợp làm việc của khung là phẳng hay không gian, ta xét trường hợp hệ khung đơn giản gồm 4 cột A,B,C,D và 4 dầm liên kết các đầu cột như hình dưới. Rồi tiến hành khảo sát các trường hợp khung chịu tải trọng đứng và ngang
A – Khung chịu tải trọng đứng
Tải trọng trên sàn truyền vào khung tùy thuộc vào kết cấu sàn theo các trường hợp sau
Trường hợp 1: Sàn lắp ghép dùng panen đặt theo 1 phương, tải trọng từ panen chỉ truyền lên hai khung phẳng song song. Hai khung này làm việc theo khung phẳng, các dầm vuông góc với các khung này chỉ đóng vai trò liên kết, không chịu lực. ( xem hình dưới )
Trường hợp 2: Khi bản sàn là toàn khối kê lên 4 dầm mà tỷ số giữa các cạnh L2/L1>2, xem gần đúng bản chịu uốn một phương. Tải trọng từ bản truyền lên hai khung đối diện, mỗi khung làm việc theo khung phẳng. ( Xem hình dưới )
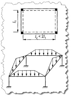
Trường hợp 3: Bản kê lên 4 dầm mà tỷ số cạnh bản L2/L1<2, bản chịu uốn theo hai phương, truyên tải trọng lên 4 dầm. Hệ khung làm việc không gian như hình dưới.
Trường hợp 4: Khi dùng thêm các dầm phụ ( dầm sàn ) để đỡ bản sàn, dầm phụ kê lên dầm khung. Tuỳ theo sơ đồ bố trí dầm phụ mà xét khung làm việc phẳng hoặc không gian.
B – Khung chịu tải trọng ngang ( gió )
Tùy theo phương của tải trọng. Khi xét tải trọng gió theo phương ngang thì các khung AB và DC làm việc theo khung phẳng. ( xem hình dưới )
Khi xét gió theo phương dọc thì hai khung AD và BC làm việc theo khung phẳng
Còn khi xét gió theo phương xiên thì khung làm việc không gian
Chú ý rằng khi xét tác dụng của gió người ta xem sàn là cứng vô cùng trong mặt phẳng của nó nên sàn làm được nhiệm vụ truyền tải trọng gió vào các khung
Với hệ khung của toàn nhà cũng tiến hành phân tích như trên để xem xét là khung làm việc theo phẳng hoặc theo không gian.
Từ chỗ phân tích sự làm việc của sàn để quyết định cách truyền tải trọng đứng.
Khi mà có thể xem toàn bộ tải trọng thẳng đứng trên sàn chỉ truyền lên các khung ngang ( hoặc khung dọc ) thì các khung ấy được xem là làm việc theo khung phẳng dưới tác dụng của tải trọng đứng. Ngược lại thì phải truyền tải trọng đứng lên cả các khung dọc và ngang và có khung không gian
Với tải trọng nằm ngang, thường người ta dựa vào mặt bằng kết cấu nhà để xét trường hợp bất lợi của tải trọng.
Khi mặt bằng nhà hẹp mà dài, độ cứng tổng thể của nhà theo phương ngang là khá bé so với phương dọc. Lúc này tác dụng của gió theo phương ngang sẽ bất lợi hơn do đó chỉ xét gió theo phương ngang và mỗi khung ngang được tính theo khung phẳng, chịu tác dụng của phần tải trọng gió phân phối cho nó ( xem hình dưới )
Khi mặt bằng kết cấu nhà có dạng gần vuông, độ cứng tổng thể của nhà theo hai phương gần bằng nhau thì phải xét tác dụng của gió theo ba trường hợp: Ngang, dọc và xiên ( như hình dưới )
Với gió dọc và ngang nhà các khung làm việc phẳng còn với gió xiên, khung làm việc không gian.
Tính toán nội lực phẳng là bài toán kết cấu thông thường, có thể giải bằng nhiều phương pháp khác nhau. Hiện nay các bài toán khung phẳng chủ yếu được giải nhờ việc sử dụng các phần mềm tính toán như sap 2000, etabs, robot,…
Tính toán nội lực khung không gian là khá phức tạp và thường chỉ có thể giải nhờ các chương trình phần mềm mạnh. Có thể giải gần đúng bài toán khung không gian bằng cách đưa về bài toán phẳng theo cách phân chia hệ khung thành các khung dọc và khung ngang, trên mỗi khung xếp đặt các tĩnh tải và hoạt tải tác dụng lên khung đó. Giải toàn bộ các khung dọc và khung ngang theo trường hợp khung phẳng. Nội lực trong dầm của khung nào là của dầm đó, còn nội lực trong cột là bằng tổng nội lực trong cột ấy của hai khung giao nhau.
2. Tổng quan các bước thiết kế kết cấu khung
Thiết kế kết cấu bê tông cốt thép nói chung và kết cấu khung nói riêng thường theo thứ tự các bước sau:
Bước 1: Giới thiệu, mô tả kết cấu
Bước 2: Lựa chọn phương án, lập sơ đồ kết cấu
Bước 3: Chọn kích thước sơ bộ các tiết diện, chọn vật liệu
Bước 4: Tính toán các tải trọng, dự kiến các tác động
Bước 5: Xác định nội lực, tổ hợp nội lực
Bước 6: Tính toán tiết diện, kiểm tra các điều kiện sử dụng
Bước 7: Thiết kế chi tiết, chọn cấu tạo và thể hiện
Các bước trên được quy về các giai đoạn thiết kế gồm:
Thiết kế cơ sở ( hay còn gọi là thiết kế sơ bộ )
Thiết kế kỹ thuật
Thiết kế bản vẽ thi công
Nếu bạn muốn hiểu sâu hơn khái niệm này được lập ở giai đoạn nào trong dự án đầu tư xây dựng thì bạn có thể tham khảo thêm trang web
lapduandautuxaydung.com
Với các công trình lớn thiết kế theo ba giai đoạn thì:
Thiết kế cơ sở gồm nội dung các bước 1,2,3
Thiết kế kỹ thuật gồm nội dung các bước 4,5,6
Thiết kế bản vẽ thi công gồm nội dung bước 7
Với các công trình vừa và nhỏ thiết kế theo hai giai đoạn hoặc 1 giai đoạn thì:
Thiết kế trực tiếp luôn bản vẽ thi công, tuy vậy vẫn thực hiện cả 7 bước trong đó có 1 số bước có thể làm gần đúng và đơn giản hóa đi.
Hồ sơ thiết kế gồm có:
Bản thuyết minh
Các bản vẽ thiết kế
Nội dung của các bước có thể được trình bày trong bản thuyết minh hoặc trong các bản vẽ.
Hoàng Phúc













Đăng nhận xét
+) Khi đăng nhận xét, bạn vui lòng viết Tiếng Việt đủ dấu và nhận xét đó có liên quan đến bài viết. Rất vui vì bạn đã đọc bài và cho ý kiến.
+)Tài khoản Google như Gmail, Google+, YouTube...và Facebook là dùng để comments. Các tài khoản khác mình đã đóng lại.